截至目前,ETF两市成交额超2000亿,报2002.53亿元,分类型来看,股票型ETF成交额685.45亿,债券型ETF成交额450.99亿,货币型ETF成交额166.60亿,商品型ETF成交额275.77亿,QDII型ETF成交额423.72亿。其中满盈网配资,成交额最高的非货币型ETF分别是恒生科技指数ETF(513180)、恒生科技ETF(513130)、港股创新药ETF(513120),成交额分别为56.41亿元、52.15亿元、28.04亿元。
举报 第一财经广告合作,请点击这里此内容为第一财经原创,著作权归第一财经所有。未经第一财经书面授权,不得以任何方式加以使用,包括转载、摘编、复制或建立镜像。第一财经保留追究侵权者法律责任的权利。如需获得授权请联系第一财经版权部:banquan@yicai.com 相关阅读
ETF市场迎来重要发展机遇期 2025年以来沪市ETF净流入1300亿元今年以来,两市ETF资金净流入约2000亿,其中沪市ETF净流入近1300亿,占比约七成。
79 04-16 20:16
上交所:奋力谱写指数化投资高质量发展新篇章 沪市股票ETF规模已突破2万亿元当前满盈网配资,ETF产品数量已经迈入“千只时代”,总规模3.9万亿元。其中,股票ETF规模2.9万亿,沪市股票ETF规模超2万亿。
45 04-16 20:15
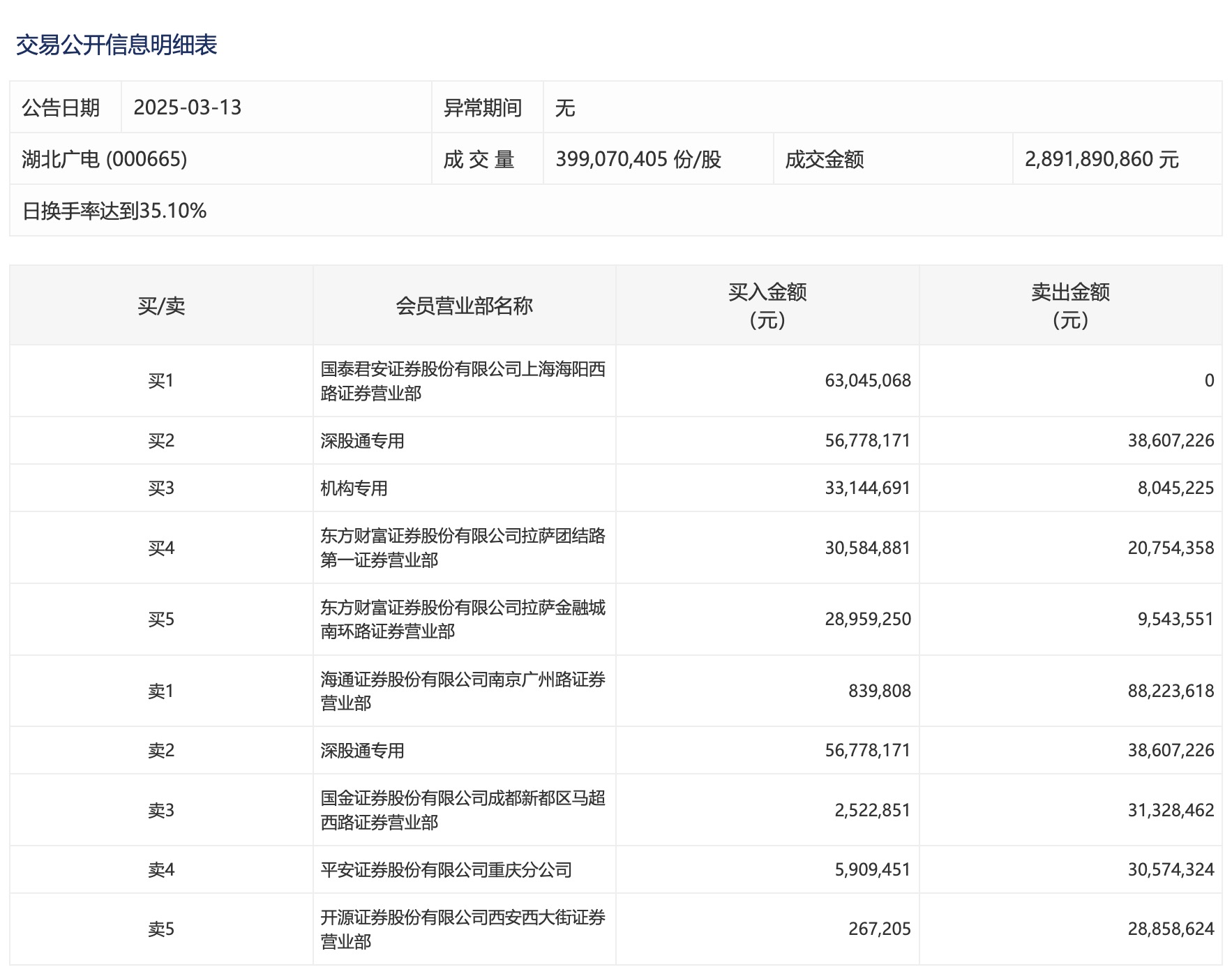
湖北广电今日涨7.41%,1家机构专用席位净买入2509.95万元湖北广电今日涨7.41%,1家机构专用席位净买入2509.95万元
0 03-13 16:39
宝馨科技今日跌5.48% 四机构净卖出1.14亿元宝馨科技今日跌5.48% 四机构净卖出1.14亿元
0 03-04 16:37
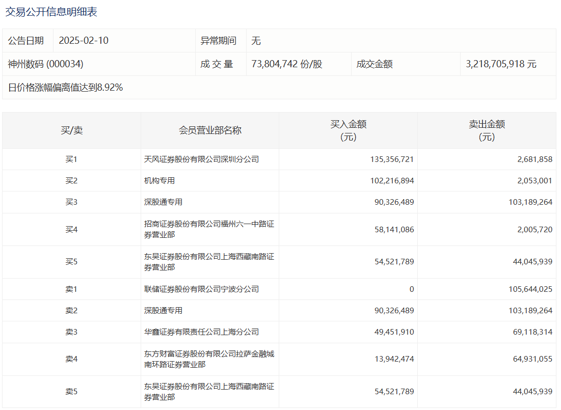
神州数码今日涨停满盈网配资,一机构净买入1亿元神州数码今日涨停,一机构净买入1亿元
0 02-10 16:34 一财最热 点击关闭点金盒配资提示:文章来自网络,不代表本站观点。